PRZEMYSŁOWE SYSTEMY OCHRONY POWIETRZA | Technologia na wyższym poziomie

 Lider Ekologii nagroda Ministra Środowiska RP

Odpylacze Cyklonowe typ EI-CE

Odpylacze cyklonowe opracowane przez Eco Instal stanowią najproszcze z możliwych rozwiązań technicznych mogących ograniczenie emisji pyłów do wartości poniżej 400 mg/Nm3.Odpylace te stosowane są rónież do eliminacji grubych frakcji pyłów w procesach filtracji workami filtracyjnymi.

Dane techniczne

j.m.

Ilość stopni odpylacza

I

II

I

II

Wielkość ziarna

mm 5-8

5-8

>10

Sprawność odpylania

%

55

88

65

95

Opory przepływu gazu

Pa

750

1400

750

1400

Ciężar jednego modułu

kg

95

200

 

 

Ciężar dziesięciu modułów

kg

900

1850

 

 

Opis MultiSeparator

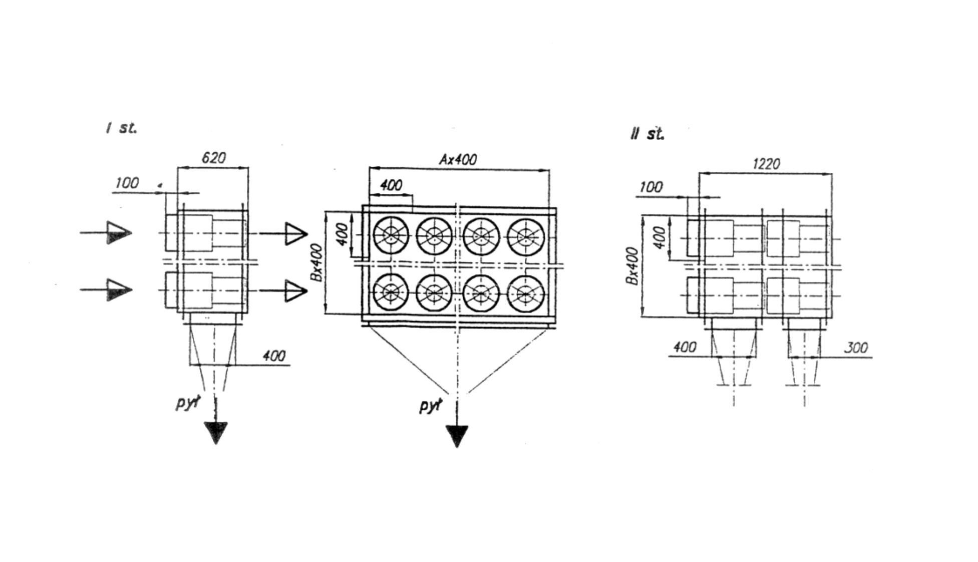
MultiSeparator to innowacyjny system składający się z modułów o wymiarach 400x400 mm, symetrycznie rozmieszczonych w kanale przepływu. Dzięki swojej konstrukcji, zapewnia efektywne oddzielanie i filtrację, co wpływa na poprawę jakości procesu. Idealny dla przemysłu, gdzie precyzja jest kluczowa.

Pojedynczy Multicyclon wykonany jest z odlewu ze specjalnego, trudnościeralnego żeliwa, którego skład stanowi know how Eco Instal. Konstrukcja multicyclonu została zaprojektowana w wyniku 30 letniego doświadczenia Eco Instal w ten sposób, że osiem skrzydełek Multicyclonu powoduje maksymalne wytrącenie pyłów z minimalnymi oporami hydraulicznymi, a głowica uderzeniowa skutecznie wspomaga cały efekt odpylania.

W wyniku skutecznego działania Multicyclonu wytrącony pył grawitacyjne opada do leja zsypowego gdzie poprzez zawór dozujący odbierany jest na zewnątrz Multi Separatora.

Aerodynamiczne Multicyclony ECO-AM-A8 budowane są w układzie jednostopniowym lub dwustopniowym w zależności od oczekiwanego efektu redukcji pyłów w zakresie od 55-95% skuteczności odpylania.

Obudowa Multicyclonu ECO-AM-A8 wykonana jest z konstrukcji ze stali węglowej z przygotowanymi uchwytami do montażu konstrukcji wsporczej.

Zalety 

  1. Małe gabaryty nie przekraczające rozmiarom kanałów
  2. Odporność na wysokie temperatury
  3. Wysoka skuteczność działania
  4. Długoletnia bezawaryjna eksploatacja
  5. Minimalne koszty eksploatacji
  6. Bezawaryjność
  7. Prosta budowa i montaż

Zastosowanie EI-AM-A8 w procesach oczyszczania

ECO-AM-A8 znajduje zastosowanie w wstępnym oczyszczaniu spalin z kotłów rusztowych, oczyszczaniu powietrza z urządzeń transportowych oraz gazów metalurgicznych. Służy również do zabezpieczania przed iskrami w filtrach workowych i jako pierwszy efektywny stopień odpylania, co zwiększa efektywność procesów przemysłowych.

Zasada Działania Multicyclonu ECO-AM-A8

Zanieczyszczony gaz w Multicyclonie ECO-AM-A8 przechodzi przez zawirowywacze, które nadają mu ruch wirowy. Siła odśrodkowa odrzuca ziarna pyłów na zewnątrz, a te opadają grawitacyjnie do leja zsypowego. Prosta, bezobsługowa zasada działania zapewnia wysoką skuteczność i długotrwałą eksploatację.

Odpylacze Aerodynamiczne typ EI-AM-8

Odpylacze cyklonowe opracowane przez Eco Instal stanowią najproszcze z możliwych rozwiązań technicznych mogących ograniczyć emisji pyłów do wartości poniżej 400 mg/Nm3.Odpylace te stosowane są rónież do eliminacji grubych frakcji pyłów w procesach filtracji workami filtracyjnymi.

Aerodynamiczny Multicyclon typu EI-AM-A8 – Najlepsza Technika Odpylania

Aerodynamiczny Multicyclon ECO-AM-A8 to wyjątkowe urządzenie do skutecznej separacji grubych frakcji zanieczyszczeń z gazów i spalin. Dzięki zaawansowanej technologii, zapewnia wysoką efektywność odpylania, co czyni go najlepszą dostępną techniką (BAT) w branży ochrony środowiska.

thermal waste treatment technology

Materiały do pobrania

Polityka Prywatności

Polityka plików cookies

Kontakt

ul. Stanisława Zwierzchowskiego 33

61-249 Poznań, Polska

Tel.:+48 61 810 83 16

ecoinstal@ecoinstal.com

 Należymy do  Günther Group Lidera Przemysłowych Systemów ochrony Powietrza w UE

Podpowiedź:

Możesz usunąć tę informację włączając Plan Premium

Ta strona została stworzona za darmo w WebWave.
Ty też możesz stworzyć swoją darmową stronę www bez kodowania.